Железнодорожный транспорт UIC60, также известный как рельс 60Е1, представляет собой стандартный тяжелый рельс, широко используемый в железнодорожном строительстве, с номинальным весом рельса 60Е1, кг на метр, равным 60 кг/м. Его стандартизированные размеры и профиль рельса 60e1 делают его пригодным для международных перевозок и контейнерных перевозок.
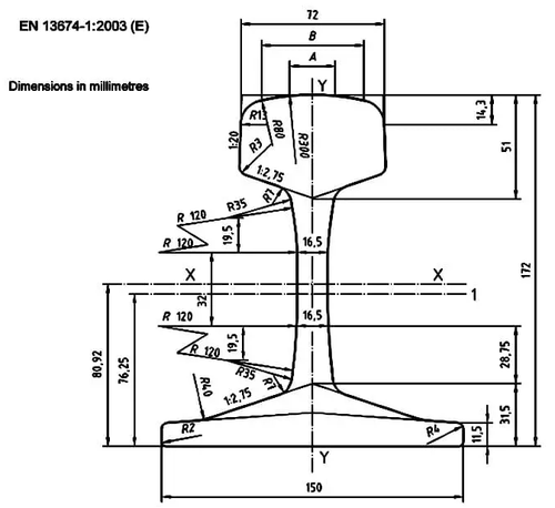
Размеры рельса 60е1:

| Стандарт МСЖД860 | |||||||
| Размер | Измерение | Вес (кг/м) | Материал | Длина (м) | |||
| Головка (мм) | Высота (мм) | База | Интернет | ||||
| МСЖД54 | 70 | 159 | 140 | 16 | 54.43 | 900A/1100 | 12-25 |
| МСЖД60 | 72 | 172 | 150 | 16.5 | 60.21 | 900A/1100 | 12-25 |
ГНИ РЕЛЬСпоставляет рельсы UIC 60 / 60e1 с постоянным контролем веса и стандартизированной длиной, обеспечивая точные расчеты загрузки и стабильные транспортные характеристики при контейнерных перевозках.
Способ загрузки и защита рельса 60Е1
Правильная загрузка рельса 60е1 имеет решающее значение для предотвращения изгиба, повреждения поверхности или отклонения размеров во время транспортировки. Рельсы обычно связываются и надежно фиксируются внутри контейнера, чтобы избежать перемещения.
- Комплектация обеспечивает стабильность во время транспортировки.
- Деревянные или стальные опоры предотвращают прямой контакт с полом контейнера.
- Концевая защита снижает повреждения от ударов во время погрузки и разгрузки.
- Сохранение целостности профиля рельса 60e1 во время транспортировки необходимо для обеспечения бесперебойной установки и долгосрочной-работы.

ГНИ РЕЛЬСприменяет усиленную комплектацию,-защиту от столкновений и надежную погрузочную систему для защиты рельсов во время транспортировки и обеспечения их доставки в-готовом к установке состоянии.
Сколько тонн рельсов UIC60 может поместиться в 20-футовый контейнер?
Стандартный 20-футовый контейнер обычно имеет максимальную грузоподъемность около 25–28 тонн, в зависимости от судоходной линии и региональных ограничений. Для рельса UIC60 фактический вес погрузки обычно контролируется в пределах 24–26 тонн, чтобы обеспечить безопасное обращение и соблюдение транспортных ограничений.
- Предел полезной нагрузки контейнера: примерно. 25–28 тонн.
- Практическая нагрузка на рельсы: 24–26 тонн.

Вес должен включать упаковку и крепежные материалы. Поскольку вес рельса 60e1 кг на метр составляет 60 кг/м, общая длина загруженных рельсов рассчитывается непосредственно на основе этого предельного веса.
ГНИ РЕЛЬСпланирует вес погрузки в соответствии с ограничениями контейнера и требованиями пункта назначения, обеспечивая безопасную доставку без превышения портовых или транспортных ограничений.
Часто задаваемые вопросы
В1: Сколько тонн рельсов UIC60 помещается в 20-футовый контейнер?
Ответ: Обычно в 20-футовый контейнер можно безопасно загрузить 24–26 тонн рельсового транспорта UIC60, в зависимости от ограничений по доставке.
Вопрос 2: Сколько метров рельса 60Е1 это соответствует?
A: При весе рельса 60e1 кг на метр 60 кг/м 25 тонн равны примерно 416 метрам рельса.
В3: Можно ли отправлять длинные рельсы (более 12 м) в контейнерах?
О: Рельсы длиннее, чем размер контейнера, требуют альтернативного транспорта, например, оптовой перевозки или специальной обработки.
В4: Влияет ли упаковка на грузоподъемность?
О: Да, упаковочные материалы и опоры занимают вес и место, немного уменьшая общее количество направляющих.
В5: Как предотвращается повреждение рельсов во время транспортировки?
О: Рельсы объединены, закреплены и защищены опорами и торцевыми крышками для предотвращения смещения и ударов.
ГНИ РЕЛЬСпоставляет рельсы UIC60 и 60e1 со стабильным контролем веса и одинаковыми размерами, что делает загрузку контейнеров более точной и эффективной. Рельсы можно обрезать до подходящей длины для контейнерных перевозок и упаковывать защитными материалами для снижения транспортных рисков. Планы погрузки составляются с учетом веса рельса 60e1 кг на метр и ограничений контейнера, что обеспечивает безопасное обращение и эффективное использование пространства. Соответствующие крепежные компоненты могут поставляться вместе, чтобы упростить подготовку на-площадке.Свяжитесь с GNEE RAILполучить подробную поддержку по организации железнодорожной погрузки и отгрузки.

